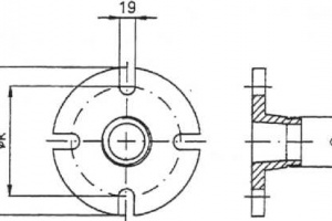
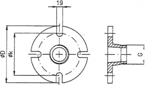
Международное соединение пожарное Рис.09-001
Описание
Международное соединение пожарное DIN 86201
DIN 86201
материал: бронза RG 5 (2.1096)
|
Размер |
G резьба |
OD |
Ok |
|
С |
2" |
178 |
132 |
|
В |
2 1/2" |
178 |
132 |
|
В |
3" |
178 |
132 |
Технические характеристики
Похожие товары




