Соединения штуцерные под сварку Рис.09-014
Описание
Соединение штуцерное под сварку DIN 86140, PN 40
Сталь
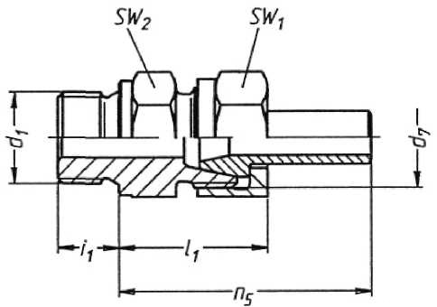
Вариант A, вход с наружной резьбой
Вариант B, вход с бобышкой под сварку
Выход конус 25° стальной под сварку
спецификация материалов:
корпус: Сталь С 15
конус приварной: Сталь С 15
Гайка: Сталь 9 S 20
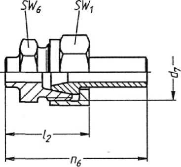
Тип 09-014-А - с наружной резьбой Тип 09-014-В - с полумуфтой под сварку
|
DN |
xRA |
d1 |
d7 |
i1 |
11 |
n5 |
l2 |
n6 |
SW1 |
SW2 |
SW6 |
KG |
|
06 |
10 |
3/8" |
1/2" |
12 |
32 |
53 |
34 |
56 |
27 |
22 |
22 |
0,1 |
|
08 |
12 |
1/2" |
5/8" |
14 |
34 |
58 |
34 |
58 |
27 |
27 |
24 |
0,2 |
|
10 |
14 |
1/2" |
3/4" |
14 |
37 |
65 |
40 |
65 |
32 |
27 |
24 |
0,2 |
|
12 |
16 |
3/4" |
7/8" |
16 |
40 |
67 |
43 |
70 |
36 |
32 |
32 |
0,3 |
|
16 |
20 |
3/4" |
1" |
16 |
45 |
73 |
48 |
76 |
41 |
36 |
36 |
0,4 |
|
20 |
25 |
1" |
1 3/8" |
18 |
48 |
78 |
54 |
84 |
46 |
41 |
41 |
0,5 |
|
25 |
30 |
1 1/4" |
1 3/8" |
20 |
52 |
83 |
57 |
88 |
50 |
50 |
46 |
0,6 |
|
32 |
38 |
1 1/2" |
1 3/8" |
22 |
55 |
93 |
61 |
93 |
60 |
50 |
50 |
0,8 |
Технические характеристики
Похожие товары





