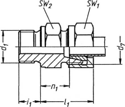
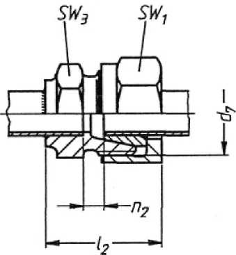
Соединения штуцерные под пайку Рис.09-013
Описание
Соединение штуцерное под пайку DIN 86140, PN 40
латунь специальная
Вариант A, вход с наружной резьбой
Вариант B, вход с полумуфтой под пайку
Выход - конус 25° медный под пайку
спецификация материалов:
корпус: SoMs 59 2.0540
Конус: Медь Cu F 30
Гайка: Ms 58 2.0380
Тип 09-013 - А - с наружной резьбой
Тип 09-013 - В - под пайку
|
DN |
х RA |
D1 |
d7 |
i1 |
n1 |
11 |
n2 |
12 |
SW1 |
SW2 |
SW3 |
KG |
|
04 |
08 |
1/4" |
3/8" |
12 |
14 |
27 |
5,0 |
27 |
22 |
19 |
17 |
0,1 |
|
06 |
10 |
3/8" |
1/2" |
12 |
16 |
32 |
5,0 |
31 |
27 |
22 |
19 |
0,1 |
|
08 |
12 |
1/2" |
5/8" |
14 |
19 |
34 |
5,5 |
31 |
27 |
27 |
19 |
0,2 |
|
10 |
14 |
1/2" |
3/4" |
14 |
19 |
37 |
5,5 |
35 |
32 |
27 |
22 |
0,2 |
|
12 |
16 |
3/4" |
7/8" |
16 |
21 |
40 |
6,0 |
39 |
36 |
32 |
27 |
0,3 |
|
16 |
20 |
3/4" |
1" |
16 |
25 |
45 |
8,0 |
44 |
41 |
36 |
30 |
0,4 |
|
20 |
25 |
1" |
1 1/8" |
18 |
27 |
48 |
9,0 |
49 |
46 |
41 |
36 |
0,5 |
|
25 |
30 |
1 1/4" |
1 3/8" |
20 |
29 |
52 |
9,0 |
52 |
50 |
50 |
41 |
0,6 |
|
32 |
38 |
1 1/2" |
1 3/4" |
22 |
32 |
55 |
9,0 |
56 |
60 |
50 |
50 |
0,8 |
Технические характеристики
Похожие товары





